Пускатель ПМА 3200
Пускатель ПМА 3200 является важным компонентом в системах управления электродвигателями, обеспечивая надежный и безопасный запуск и остановку двигателей. В этой статье мы рассмотрим особенности и преимущества использования пускателя ПМА 3200 в различных промышленных и бытовых приложениях.
Преимущества Пускателя ПМА 3200:
- Надежность и Производительность: Пускатель ПМА 3200 обеспечивает стабильный и надежный пуск электродвигателей мощностью до 3200 кВт, что делает его идеальным выбором для широкого спектра применений.
- Защита от Перегрузок и Коротких Замыканий: Встроенные механизмы защиты позволяют предотвратить повреждения электродвигателя при возникновении перегрузок или коротких замыканий, обеспечивая долговечность и безопасность работы оборудования.
- Простота Установки и Использования: Пускатель ПМА 3200 имеет компактный и эргономичный дизайн, что облегчает его установку и интеграцию в различные электрические системы. Интуитивно понятный интерфейс делает его легким в использовании даже для непрофессионалов.
Практические Примеры Применения:
- Промышленные Процессы: Пускатель ПМА 3200 широко используется в промышленных процессах, таких как производство, добыча и переработка, где требуется надежное управление электродвигателями большой мощности.
- Строительство и Гражданское Строительство: В строительной отрасли пускатель ПМА 3200 обеспечивает эффективное управление электродвигателями для подъемных механизмов, конвейерных лент и другого оборудования.
Пускатель ПМА 3200 представляет собой надежное и эффективное решение для управления электродвигателями различной мощности. Его высокая надежность, защитные функции и простота использования делают его идеальным выбором как для промышленных, так и для бытовых приложений. Обеспечьте надежную и безопасную работу ваших электрических систем с пускателем ПМА 3200 уже сегодня!
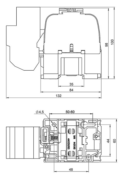
Технические характеристики
- Производство – Россия;
- Производитель – г. Челябинск, ООО Завод «Электроконтактор»;
- Ток допустимый – In, 40А;
- Монтаж не трудозатратен;
- Крепление – на винты;
- Малогабаритен;
- Большая коммутируемая способность;
- Напряжение рабочее – 380В;
- Долговечный;
- Очень прочный;
- Степень защиты – IP00;
- Соответствие западным и отечественным стандартам качества;
- Мощность потребителя – 18 кВт;
- Малое сопротивление;
- Износостойкость – 0,30 млн. циклов;
- Наличие защитного реле;
- Условия размещения – У2/У3/УХЛ3/УХЛ4;
- Дополнительные контакты – 1з;
Габаритные размеры











