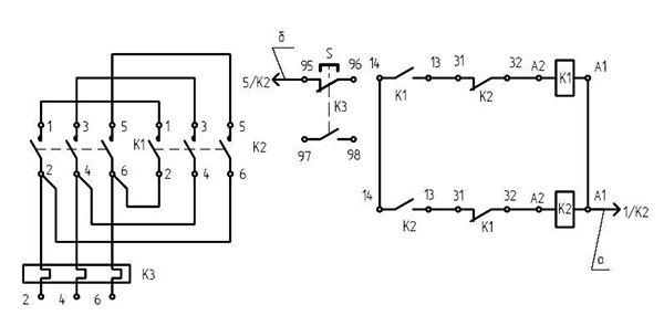
Электромагнитный пускатель ПМЛ 3610 – реверсивный, в оболочке. Имеется защитное реле. Степень защиты пускателя IP54 и кнопками СТОП.
Предназначен для эксплуатации в стационарных установках для удаленного запуска и остановки 3фазных электромоторов.
При укомплектовании пускателей защитными реле появляется возможность осуществления защиты управляемых электромоторов от скачков напряжения и от различного вида перегрузок.
ТЕХНИЧЕСКИЕ ХАРАКТЕРИСТИКИ ПМЛ 3610
Напряжение по изоляции, В – 660
Номинальный ток, А – 40
Номинальное напряжение втягивающей катушки – 110,220,380,400,415,440, 60гц.
Мощность, потребляемая катушкой пускателя, рабочая/пусковая, ВА – 20±4/200±35
Номинальный рабочий ток, А (категория применения АС-3) при напряжениях 380, 550, 660 – 36, 36, 25
Износостойкость механическая / коммутационная (категория применения АС-3)
при исполнении по износоустойчивости А,Б,В млн. циклов- А 20/3,0 Б 10/1,5 В 3/0,3
Максимальная частота включений без нагрузки/ с нагрузкой, включений в час – 3600/1200
Наличие защитного реле- c реле
Крепление на стандартную рейку DIN - не устанавливается
Мощность двигателя для категории АС-3, 380В, Квт – 5,5











